数据治理平台数据治理平台
产品介绍
  • 概述
  • 数据治理概览
  • 数仓规划
  • 数据标准管理
  • 数据模型管理
  • 元数据管理
  • 数据资产管理
  • 数据质量管理
  • 数据服务管理
  • 自助可视化分析
  • 数据安全管理
  • 数据源
  • 审批工单
  • 知识库
  • 系统管理
  • 任务调度
  • 安全管理
  • 平台API
  • 数据治理示例
  • 附录
  • 概述
  • 数据库部署
  • 应用部署(Fatjar)
  • 应用部署(Docker)
  • DolphinScheduler部署
  • Atlas部署
  • Kerberos
  • 概述
  • 实施工作流
  • 数仓分层
  • 数仓建模
  • 指标体系建模
  • 数仓技术架构
云数创智
产品介绍
  • 概述
  • 数据治理概览
  • 数仓规划
  • 数据标准管理
  • 数据模型管理
  • 元数据管理
  • 数据资产管理
  • 数据质量管理
  • 数据服务管理
  • 自助可视化分析
  • 数据安全管理
  • 数据源
  • 审批工单
  • 知识库
  • 系统管理
  • 任务调度
  • 安全管理
  • 平台API
  • 数据治理示例
  • 附录
  • 概述
  • 数据库部署
  • 应用部署(Fatjar)
  • 应用部署(Docker)
  • DolphinScheduler部署
  • Atlas部署
  • Kerberos
  • 概述
  • 实施工作流
  • 数仓分层
  • 数仓建模
  • 指标体系建模
  • 数仓技术架构
云数创智
  • 数据标准管理

    • 概述
    • 命名规范
    • 码表
    • 度量单位
    • 词根
    • 数据元
    • 指标

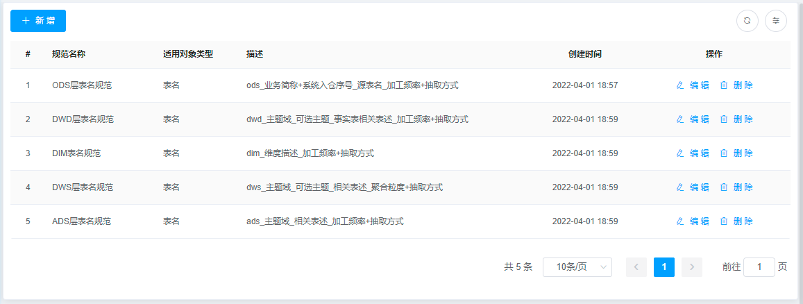
命名规范

用于规范数据治理范围的表命名规则。

命名规范

命名规范-编辑

最近更新:: 2025/8/9 15:09
Contributors: yangxiaoming
Prev
概述
Next
码表