数据治理平台数据治理平台
产品介绍
  • 概述
  • 数据治理概览
  • 数仓规划
  • 数据标准管理
  • 数据模型管理
  • 元数据管理
  • 数据资产管理
  • 数据质量管理
  • 数据服务管理
  • 自助可视化分析
  • 数据安全管理
  • 数据源
  • 审批工单
  • 知识库
  • 系统管理
  • 任务调度
  • 安全管理
  • 平台API
  • 数据治理示例
  • 附录
  • 概述
  • 数据库部署
  • 应用部署(Fatjar)
  • 应用部署(Docker)
  • DolphinScheduler部署
  • Atlas部署
  • Kerberos
  • 概述
  • 实施工作流
  • 数仓分层
  • 数仓建模
  • 指标体系建模
  • 数仓技术架构
云数创智
产品介绍
  • 概述
  • 数据治理概览
  • 数仓规划
  • 数据标准管理
  • 数据模型管理
  • 元数据管理
  • 数据资产管理
  • 数据质量管理
  • 数据服务管理
  • 自助可视化分析
  • 数据安全管理
  • 数据源
  • 审批工单
  • 知识库
  • 系统管理
  • 任务调度
  • 安全管理
  • 平台API
  • 数据治理示例
  • 附录
  • 概述
  • 数据库部署
  • 应用部署(Fatjar)
  • 应用部署(Docker)
  • DolphinScheduler部署
  • Atlas部署
  • Kerberos
  • 概述
  • 实施工作流
  • 数仓分层
  • 数仓建模
  • 指标体系建模
  • 数仓技术架构
云数创智
  • 数据安全管理

    • 概述
    • 安全等级
    • 敏感类型
    • 脱敏规则
    • 脱敏算法

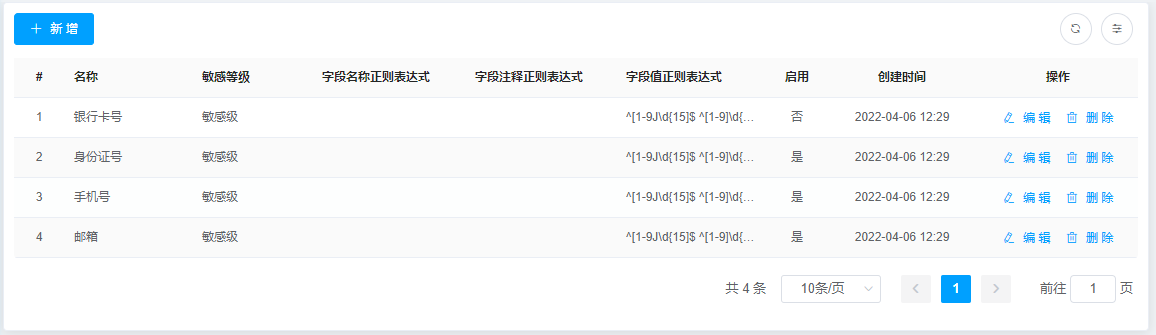
敏感类型

维护敏感数据类型。

  • 适用对象类型,一般是字段内容
  • 正则表达式,用于识别敏感数据特征,可用于SQL。

参考 Hive正则表达式函数

敏感类型

编辑

编辑选中的敏感类型的识别正则表达式等。

支持字段名称、字段注释和字段值识别。

敏感类型-编辑

最近更新:: 2025/8/9 15:09
Contributors: yangxiaoming
Prev
安全等级
Next
脱敏规则